QOJ.ac

QOJ

Time Limit: 2 s Memory Limit: 32 MB Total points: 100

#6711. Fold Paper Strips

Statistics

There is a paper strip, whose width is 1, and the widths of every part of it are equal. At the most left position of the strip, there is a vertical line. The strip is soft enough, and it can extend limitlessly to the right side. All points of the paper strip are in one plane.

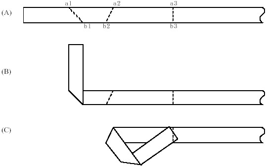
The strip can fold along a line at a certain position. After the fold, there would be some overlapped parts in the strip, but all points of the paper strip are still in one plane (assuming the thickness of the strip is 0). The horizontal positions of the strip are defined as following: the position of the most left line is 0, and the axis extends to the right alone the strip. The position of a folding line is described by $(a, b)$, "$a$" is the horizontal position of the point of intersection of the line and the strip' top edge, "$b$" is the horizontal position of the point of intersection of the line and the strip'bottom edge. So the folding line is a line through point "$a$" and "$b$".

There are two possibilities for the direction of a fold. Along the folding line, you can fold the left part to the front of the right part or you can fold the left part to the back of the right part. A "fold" $(a, b, d)$ includes the line of folding $(a, b)$ and the direction "$d$" ($0$ for fold the left part to the front, $1$ for fold the left part to the back).

problem_6711_1.png

We will list a sequence of folds, $(a_1, b_1, d_1)$, $(a_2, b_2, d_2)$ $\ldots$ $(a_n, b_n, d_n)$, and $a_i \leq a_{i+1}$, $b_i \leq b_{i+1}$ ($1 \leq i < n$), you should fold the strip according to this sequence. If after a fold $i$, the folded part of the strip overlapped the next unfolded folding line $i+1$ at the same side of the paper (that is to say, the direction of fold $i$ and fold $i+1$ are the same), the folding line $i+1$ is called a "failed fold", as is displayed in picture (C).

Write a program to tell if there is failed fold in a sequence of folds.

Input

The input consists of several testcases. The first line of each testcase contains the number of folds in the sequence of folds $n$ ($0 < n \leq 1\,000$). The next line contains $3n$ real numbers, indicating the sequence of folds: $a_1$ $b_1$ $d_1$ $a_2$ $b_2$ $d_2$ $\ldots$ $a_n$ $b_n$ $d_n$.

The end of input is signified by a line consisting of a single $0$.

Output

For each testcase, you should output exactly one single line, consisting of the folding result of the problem. If there is a failed fold in the sequence of folds, output "NO" and followed with the index number of the failed fold. If there is no failed fold, output "YES".

Sample Input

3
3 4 0 6 5.5 0 10 10 0
4
3 3 0 5 5 1 7 7 0 8 8 1
0

Sample Output

NO 3
YES

Discussions

About Discussions

The discussion section is only for posting: Editorials, General Discussions (problem-solving strategies, alternative approaches), and Off-topic conversations.

This is NOT for reporting issues! If you want to report bugs or errors, please use the Issues section below.

Open Discussions 0
No discussions in this category.

Issues

About Issues

If you find any issues with the problem (statement, scoring, time/memory limits, test cases, etc.), you may submit an issue here. A problem moderator will review your issue.

Guidelines:

  1. This is not a place to publish discussions, editorials, or requests to debug your code. Issues are only visible to you and problem moderators.
  2. Do not submit duplicated issues. Submitting multiple issues may cause your account to be banned.
  3. Issues must be filed in English or Chinese only.
Active Issues 0
No issues in this category.
Closed/Resolved Issues 0
No issues in this category.